11月27日,阿维塔深夜递交港股IPO申请。若推进顺利,阿维塔或将于2026年成功登陆港股,成为第六家实现IPO的新势力。
预计明年上市
关于阿维塔IPO的动向,早在去年9月就已传出风声。彼时,长安汽车曾向投资者透露,阿维塔科技将独立进行市场化运作,并已有独立上市计划。
确认独立IPO路径后,阿维塔通过多轮融资提升估值,引入更多股东实现股份改制。去年12月,阿维塔完成C轮融资,总金额超110亿元,同步启动上市筹备工作。
图片来源:阿维塔
天眼查APP显示,2025年阿维塔还进行了两轮融资,分别为6月由芯联集成、合肥高新集团等参与的C+轮融资,以及11月由中国银河投资实施的战略融资。
中国银河表示,旗下渝创银河基金此次投资,是基于对中国智能电动汽车产业技术迭代势能与市场增长空间的看好,以及对阿维塔“科技+制造+能源”协同创新模式的认同。
阿维塔的股权结构也随之调整。今年6月,阿维塔注册资本由约19.95亿元增至约30.65亿元,同步引入重庆安渝私募股权投资基金、合肥高新控股集团有限公司等新股东,优化股权分散度,以符合港股上市公司股权结构规范。
9月,阿维塔科技(重庆)有限公司完成工商变更,正式更名为阿维塔科技(重庆)股份有限公司。此举使其股权结构与治理模式更符合港交所上市监管要求,被视为IPO前的“标准操作与必要前提”。
公司管理层也同步调整。阿维塔宣布由长安汽车副总裁王辉接替朱华荣出任董事长。公开资料显示,王辉具备丰富的战略规划与海外市场经验,这一任命被业内解读为“为全球化战略与IPO进程铺路”,以强化公司对接资本市场的能力。
此外,为提升上市估值吸引力,阿维塔进一步深化与华为的技术绑定。一方面,以115亿元收购引望10%股权,此举不仅强化了双方技术协同,也通过持有引望股权提升了资本市场关注度,为估值加分。
另一方面,产品计划持续扩容。王辉表示,2026年与华为的“全面联创车型”将从1款增至4款。同时,华为ADS 智驾系统、鸿蒙座舱等最新技术将陆续在阿维塔车型实现量产,进一步巩固其技术壁垒。
图片来源:阿维塔招股书
随着各方面准备就绪,阿维塔于11月27日正式递交IPO申请。招股书披露,公司计划通过在香港首次公开募股筹资10亿美元。若成功上市,阿维塔或将成为首家登陆港股的“央企新能源汽车品牌”。
为何IPO?
至于阿维塔等新能源车企为何执着于IPO,根本原因在于行业投入大且回报周期长,仅靠自身难以维持可持续发展。
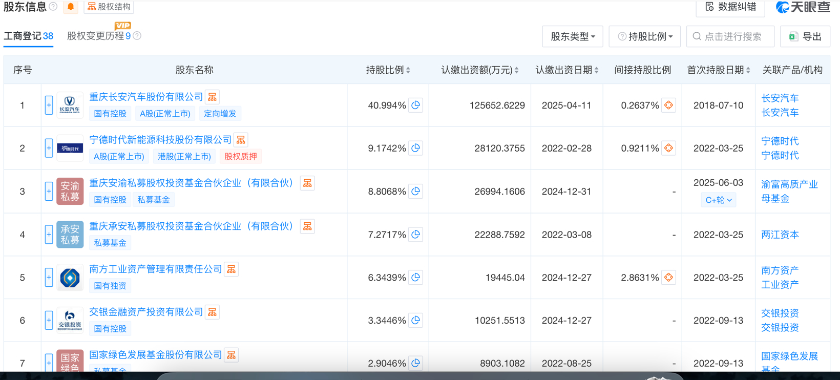
阿维塔成立于2018年,是由长安汽车、华为和宁德时代三方联合打造的高端智能电动汽车品牌。尽管背后有三大巨头支持,但长安汽车为实际控制人,目前持有40.994%的股权。华为与宁德时代更多承担战略合作方的角色。
图片来源:天眼查
长安汽车旗下除阿维塔外,还拥有启源、深蓝等多个新能源品牌。叠加其自身正处于电动化转型关键阶段,难以将全部资源倾注于阿维塔。此外,长安汽车近两年盈利能力一般,今年前三季度净利润仅30亿元。
再看阿维塔自身,受市场竞争激烈影响,其在高端市场推进节奏偏慢,尚未形成规模效应。数据显示,阿维塔今年前10月累计销量为10.4万辆,与理想、蔚来等品牌仍有较大差距。这也导致其持续处于经营亏损状态。
2022年至2024年,阿维塔税前亏损持续扩大,从-20.16亿元增至-40.18亿元。不过,随着销量提升与成本控制能力增强,2025年上半年税前亏损收窄至15.85亿元。同时,毛利润进一步转正,达到12.38亿元(毛利率10.1%),显示规模效应正逐步显现。
赴港IPO将有效缓解阿维塔在发展资金上的燃眉之急。可参考蔚来汽车,今年在二级市场融资已超百亿元。
正因如此,几乎所有新能源品牌都制定了IPO计划。赛力斯等部分车企也寻求二次上市机会,蔚来、小鹏等也实现美股与港股双重上市,目的均为打通更多融资渠道,支撑企业度过高投入阶段。毕竟,特斯拉从成立到实现盈利,也经历了长达十年的亏损周期。
阿维塔招股书披露,其上市募集资金将主要用于:下一代车型研发(含纯电与增程技术)、智能驾驶技术迭代(如L3级辅助驾驶)、海外市场渠道建设(目标进入80多个国家)、品牌推广及补充营运资金,支撑长期增长。
图片来源:阿维塔
阿维塔同步公布未来销量与收入目标:2027年全球销量40万辆、年收入千亿元;2030年销量80万辆;2035年挑战150万辆。通过明确的增长路径,强化投资者信心,同时借助港股国际化平台,推动 “产品出海” 向 “品牌出海” 升级,提升全球市场竞争力。
在阿维塔推进IPO的同时,另一家央企背景的新能源品牌也在筹备登陆港股。东风公司旗下岚图汽车计划以“介绍上市”方式赴港上市。
8月22日,东风集团股份宣布,子公司岚图汽车将以介绍上市方式登陆港股,同时东风集团股份计划同步完成私有化退市。业内人士认为,这一“腾笼换鸟”式的资本运作,旨在快速打通岚图汽车的独立融资渠道,借助资本市场提升品牌影响力、加速技术研发与国际化布局。
9月,岚图汽车完成股份制改造,企业名称由“岚图汽车科技有限公司”变更为“岚图汽车科技股份有限公司”,注册资本增至36.8亿元。同步进行人事调整,原董事长尤峥卸任,由CEO卢放同时接任董事长及总经理,实现董事长与CEO职责统一。
由此可见,阿维塔与岚图汽车均有望成为港股首家上市的央企新能源汽车品牌。当然,IPO仅是进入二级市场的起点。未来股价与市值的走向,最终仍取决于车企的业绩基本面与中长期战略执行力。
*版权声明:本文为盖世汽车原创文章,如欲转载请遵守 转载说明 相关规定。违反转载说明者,盖世汽车将依法追究其法律责任!
本文地址:https://auto.gasgoo.com/news/202511/28I70438001C109.shtml
 
联系邮箱:info@gasgoo.com
求职应聘:021-39197800-8035
简历投递:zhaopin@gasgoo.com
客服微信:gasgoo12 (豆豆)
新闻热线:021-39586122
商务合作:021-39586681
市场合作:021-39197800-8032
研究院项目咨询:021-39197921
