盖世汽车讯 12月3日,现代汽车集团(Hyundai Motor Group)在日本东京举行的2025年国际机器人展览会(iREX 2025)上,正式发布了由集团机器人实验室开发的首款量产型移动机器人平台——MobED(Mobile Eccentric Droi...[详细]
盖世汽车讯 12月3日,汽车行业移动出行技术供应商马瑞利(Marelli)在德国柏林举行的2025年欧洲CTI展会上发布了其...[详细]
盖世汽车讯 自动驾驶汽车网络对数据共享的日益依赖带来了严重的隐私和安全漏洞。据外媒报道,迪肯大学(Deakin Un...[详细]
盖世汽车讯 钕是一种稀土元素,是制造最强永磁体的关键材料,而最强永磁体广泛应用于国防技术、硬盘驱动器、医疗...[详细]
盖世汽车讯 12月4日,德国软件与汽车技术供应商Vector Informatik发布面向汽车开发的测量和校准软件工具CANape 24...[详细]
盖世汽车讯 12月3日,生物识别成像技术公司trinamiX GmbH将在2026年国际消费电子展(CES)上发布其突破性的广角(...[详细]
盖世汽车讯 用于油循环和润滑的齿轮泵是汽车和液压系统中至关重要的部件。它们结构紧凑,每转流量大,吸力强。齿...[详细]
盖世汽车讯 视觉语言模型(VLM)是现代人工智能(AI)的核心技术,可用于表示不同形式的表达或学习内容,例如照片...[详细]
盖世汽车讯 据外媒报道,株式会社村田制作所(Murata Manufacturing Co. Ltd)宣布推出并量产其新型多层陶瓷电容...[详细]
盖世汽车讯 据外媒报道,日本熊本大学(Kumamoto University)的一个研究团队发布了一种新的数学框架,该框架能够...[详细]
盖世汽车讯 据外媒报道,现代摩比斯(Hyundai Mobis)成功开发出聚醚醚酮(PEEK)薄膜,这是一种应用于移动出行领...[详细]
盖世汽车讯 据外媒报道,,福特汽车公司已向美国专利商标局(USPTO)申请一项多车辆音频系统同步专利,该系统或将应用于未来的福特车型。该专利于2024年5月21日提交申请,2025年11月27日公布,专利号为0365539。图片...[详细]
盖世汽车讯 蛇类利用特殊的颊窝器官在完全黑暗的环境中探测热信号,这种生物超能力一直是工程师们梦寐以求想要复...[详细]
盖世汽车讯 据外媒报道,LG化学(LG Chem)宣布在提升全固态电池性能方面取得了关键突破,开发出一种能够精确控制...[详细]
盖世汽车讯 据外媒报道,Diodes公司(Diodes Incorporated)宣布推出符合汽车级标准的高效60V升压控制器AL3069Q,...[详细]
盖世汽车讯 大型语言模型(LLMs),例如OpenAI平台ChatGPT所使用的模型,如今已被广泛用于处理各种任务,从信息搜...[详细]
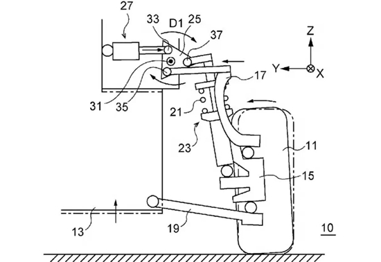
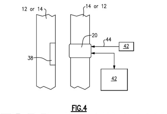
盖世汽车讯 据外媒报道,通用汽车公司已提交一项关于车载座椅电子设备存储和充电系统的专利申请。该专利申请的专利号为US 12,479,345 B2,于2023年3月3日提交至美国专利商标局(USPTO)。该专利申请于2025年11月25日...[详细]
盖世汽车讯 据外媒报道,日本帝人株式会社(Teijin)推出一项溶剂型回收技术,可生产出性能与原生树脂相当的高品...[详细]
盖世汽车讯 据外媒报道,工程服务供应商FEV宣布与亚琛工业大学(RWTH Aachen University)移动推进机电一体化教学...[详细]
盖世汽车讯 据外媒报道,特斯拉(Tesla)在其最新的重大软件更新2025.32中引入了一项功能:如果车内雷达被遮挡,...[详细]
联系邮箱:info@gasgoo.com
求职应聘:021-39197800-8035
简历投递:zhaopin@gasgoo.com
客服微信:gasgoo12 (豆豆)
新闻热线:021-39586122
商务合作:021-39586681
市场合作:021-39197800-8032
研究院项目咨询:021-39197921
