知情人士日前透露,特斯拉正开发一款尺寸更小、价格更低的全新电动SUV车型。...[详细]
盖世汽车讯 4月10日,小鹏汽车官微宣布与全球汽车玻璃龙头福耀集团深度合作,小鹏GX首块AI调光隐私玻璃,正式量产...[详细]
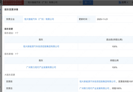
盖世汽车讯 据理想汽车消息,4月10日,理想i6第100000辆量产车正式下线。图片来源:理想汽车4月1日,盖世汽车报道...[详细]
盖世汽车讯 韩国起亚公司(Kia Corp)于当地时间4月10日(周四)宣布,将原定于2027年推出的首款“软件定义汽车”(software-defined vehicle, SDV)推迟至2028年,并同步公布了一项大幅上调的投资计划。此举凸显其...[详细]
盖世汽车讯 沃尔沃汽车韩国公司近日正式在韩国市场推出其首款纯电动旗舰SUV——沃尔沃EX90。该车型基于专为电动车开发的SPA2平台打造,搭载沃尔沃自主研发的“Hugin core”计算系统,标志着品牌向“软件定义汽车”(...[详细]
盖世汽车讯 特斯拉首席执行官埃隆·马斯克(Elon Musk)于本周三确认,公司旗下Model S与Model X车型的全球工厂库存仅剩“几百辆”,并呼吁有意购买者尽快下单。此举标志着这两款服役超过十年的旗舰车型即将正式退出...[详细]
盖世汽车讯 宝马公司将于2026年4月底前正式停止8系(G14/G15/G16)的生产,且目前没有推出继任车型的计划。最后一批现款8系车型将在德国丁戈尔芬(Dingolfing)工厂下线。这是宝马历史上第二次停产8系车型。第一代8...[详细]
盖世汽车讯 据路透社援引四名知情人士消息,特斯拉近期正与供应商就一款全新、更小且更便宜的电动跨界车进行讨论。该车型并非现有Model 3或Model Y的简化版,而是一款全新开发的紧凑型SUV,计划在中国、欧洲和美国三...[详细]
沉寂多时的A级燃油SUV市场,因为奇瑞多款新车的上市又再次热闹起来。4月8日,瑞虎7L、2026款瑞虎7和瑞虎5正式上市...[详细]
4月前后,多家车企动作频频之时,奕境正式对外发布核心管理团队:汪俊君出任董事长,曾清林担任品牌总经理。消息...[详细]
2026年是上汽大众新能源转型的关键之年。3月30日,旗舰SUV ID. ERA 9X正式开启预售,按下转型加速键。一季度,上...[详细]
4月9日,“全民皆爱野——捷途XWD技术体验日”在安徽芜湖龙山露营地盛大举行,捷途XWD全自动智能四驱以硬核技术开...[详细]
2026年4月8日,奇瑞汽车正式在西班牙巴塞罗那启用其欧洲运营中心,并同步设立西班牙研究院。这是奇瑞在欧洲设立的...[详细]
2026年4月9日,吉利银河M7正式开启全球预售,预售价区间为13.98万元至15.68万元。结合预售权益(500元抵1500元、...[详细]
盖世汽车讯 通用汽车公司近日宣布召回271,770辆2023至2025年款雪佛兰迈锐宝(Chevrolet Malibu)轿车,原因是车辆配备的倒车摄像头可能因密封不良导致进水失效。此次召回涵盖2022年5月26日至2023年8月3日期间生产的2...[详细]
盖世汽车讯 三菱汽车马来西亚公司(Mitsubishi Motors Malaysia,简称MMM)于2026年4月8日正式在马来西亚市场推出Xforce紧凑型SUV。该车型自2026年2月5日开启预售以来,订单量已超过最初设定的2,000辆目标。Xforce为...[详细]
盖世汽车讯 当地时间2026年4月8日前后,特斯拉首席执行官埃隆·马斯克(Elon Musk)在社交媒体平台X上声称,特斯...[详细]
盖世汽车讯 受2026年第一季度交付数据低于预期影响,多家华尔街投行近期下调了特斯拉(NASDAQ: TSLA)股票的目标...[详细]
盖世汽车讯 据Teslarati报道,当地时间周三,约60台特斯拉Cybercab现身得州超级工厂生产厂区外,这款自动驾驶网约...[详细]
盖世汽车讯 现代汽车计划于2026年4月20日至26日举行的米兰设计周期间,正式全球首发其全新电动掀背车型IONIQ 3。在正式亮相前,一辆覆盖伪装的量产版实车已在停车场被拍到,为外界提供了迄今为止最接近量产状态的外...[详细]
联系邮箱:info@gasgoo.com
求职应聘:021-39197800-8035
简历投递:zhaopin@gasgoo.com
客服微信:gasgoo12 (豆豆)
新闻热线:021-39586122
商务合作:021-39586681
市场合作:021-39197800-8032
研究院项目咨询:021-39197921
