盖世汽车讯 据外媒报道,如果你拥有一辆大约过去五年间生产的汽车,而且该车还配备了自动变速箱,该车大概率也配备了一个启停系统(stop/start system)。不过,该系统也非常烦人,很多驾驶员都抱怨该系统会在每个红绿灯前切断动力,让乘客烦躁不已。
(图片来源:通用汽车)
不过,在通用汽车(GM)近日向美国专利商标局(U.S. Patent and Trademark Office)提交的一份专利中,巧妙地解决了人们对该系统的抱怨。通用汽车的启停系统将利用定位设备和摄像头,分析车辆周围的环境,以确定是否该系统应该被激活。
启停系统是一项聪明的省油服务,从名字中可以推断是启动和关闭发动机。当发动机达到合适的温度时,与车辆在红绿灯前停下,让发动机空转一段时间相比,将发动机关闭并重新启动更省油。对于经常遇到走走停停交通状况的城市驾驶员来说,此种省油措施能够节省燃油以及少量的钱,不过可能会让人失去耐心。同时,至关重要的是,该系统还可以让汽车制造商提高EPA燃油经济性评级。不可否认的是,让发动机关闭又启动非常烦人,尤其是要在每一个街区都关闭又启动发动机。大多数启停系统都是在汽车完全停下,驾驶员的脚还踩在刹车踏板上,变速箱处于驱动状态时,才被激活。只要符合一定的条件(电池电量充足、发动机达到一定温度),当驾驶员的脚离开刹车踏板时,发动机就会关闭并重新启动。
虽然概念很棒,不过在实际应用中,即使驾驶员的脚极其轻微地在刹车踏板上移动,都会再次启动发动机。因此,很多驾驶员选择关闭自动启停功能,不过其他驾驶员必须忍受无法关闭该系统的痛苦,因为有些车型(实际上就是通用汽车的许多车型)无法关闭该功能。
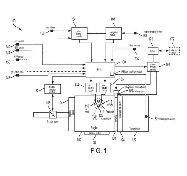
(图片来源:美国专利商标局)
通用汽车的专利表示,通用认为利用GPS、摄像头和机器学习能够让启停功能减少干扰,并在特定情况下更加智能。该专利采用了现有的启停系统,不过增加了一层人工智能编程技术。汽车的车载计算机会使用GPS来确定情况:该车是在停车场试图停车,还是在州际公路上遇到了交通堵塞?如果汽车是在高峰时段沿着洲际公路行驶,摄像头会通知该系统交通量很大,而GPS能够确定汽车处于州际公路上的哪个位置。根据此类信息,加上汽车的车速信息,该系统能够选择是否应该以及何时启动自动启停系统,例如防止在停车场时,启用该系统。由于该专利还采用了机器学习技术,表明该系统会根据汽车移动的频率,以及该系统在特定时间和特定环境中每个位置的激活频率,从遇到的各种情况中不断学习。从该方面看,该系统与新款C8 Corvette车型的智能前轴抬升系统(smart front-axle lift system)类似,后者可以根据驾驶员的输入以及GPS跟踪技术,在特定位置将前轴自动抬升。
在通用汽车的该项专利成为现实,并进入大众市场之前,可能人们还是会选择将启停系统关闭。而这一点对于配备手动变速箱的汽车来说反而是优势,因为此类汽车不太可能会配备自动启停系统。不过,一个更好、更智能的启停系统有可能节省更多燃料,并让更多的人使用。
*特别声明:本文为技术类文章,禁止转载或大篇幅摘录!违规转载,法律必究。
本文地址:https://auto.gasgoo.com/news/201912/17I70139353LC601.shtml
 好文章,需要你的鼓励
联系邮箱:info@gasgoo.com
求职应聘:021-39197800-8035
简历投递:zhaopin@gasgoo.com
客服微信:gasgoo12 (豆豆)
新闻热线:021-39586122
商务合作:021-39586681
市场合作:021-39197800-8032
研究院项目咨询:021-39197921
