盖世汽车讯 在私密空间伴随着自选音乐哼唱,是驾驶过程中特有的乐趣之一。虽然难以获得精确的数据,但是可以推测,Phil Collins的歌曲《In The Air Tonight》中的鼓点节奏,在方向盘上被即兴敲击的频率,远高于人们在真实的鼓上演奏的次数多。不过,此种不受限制的车内歌唱行为给汽车制造商带来了一项天然挑战,即如何将此种自然愉悦的行为变成可控且不机械、僵硬的功能。
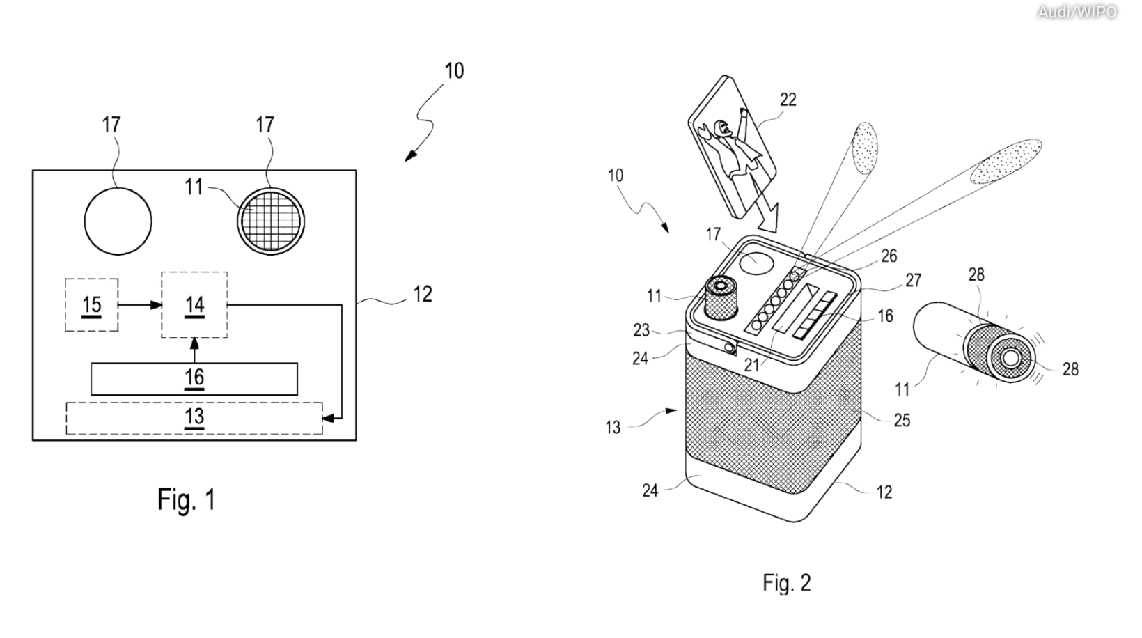
奥迪专利图(图片来源:美国专利商标局)
*特别声明:本文为技术类文章,禁止转载或大篇幅摘录!违规转载,法律必究。
本文地址:https://auto.gasgoo.com/news/202601/12I70442294C601.shtml
 
联系邮箱:info@gasgoo.com
求职应聘:021-39197800-8035
简历投递:zhaopin@gasgoo.com
客服微信:gasgoo12 (豆豆)
新闻热线:021-39586122
商务合作:021-39586681
市场合作:021-39197800-8032
研究院项目咨询:021-39197921
