盖世汽车讯 据外媒报道,福特汽车公司已向美国专利社保局(USPTO)申请一项车轮不平衡检测系统专利。该专利于2024年6月4日提交申请,2025年12月4日公布,专利号为0367988。
图片来源: USPTO
福特公司已通过多项专利申请,探索未来车辆如何为用户提供更详细、更及时的轮胎信息。这些专利申请包括不均匀轮胎磨损识别技术和轮胎轮换系统等。如今,福特又公布了一项新专利,展示了一种车轮不平衡检测系统,该系统未来也可能应用于福特车型。
这套系统旨在实现其名称所指的功能——检测车辆车轮是否平衡,并在出现这种情况时提醒驾驶员。它将通过传感器收集车辆车轮速度和车身振动等数据,并将其与各种阈值进行比较,以确定其是否在可接受的范围内。
如果超出范围,系统不仅会发出警告,还能识别车轮的具体平衡问题,从而便于驾驶员进行故障排除。由于车轮会随着时间的推移而出现不平衡,并引发各种问题,因此,如果这套系统能够成功研发,将大有裨益。
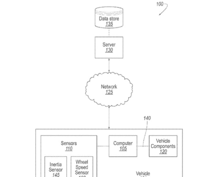
专利图中显示,该系统包括一台计算机,该计算机包含处理器和存储器,存储器存储处理器可执行的指令。这些指令包括用于检测车辆车身随时间变化的振动以及计算车辆每个车轮随时间变化的振动的指令。当检测到车身振动低于第一车身振动阈值时,计算机基于每个车轮的计算振动值,分别计算每个车轮的基准振动值。当检测到车身振动高于第二车身振动阈值时,计算机将每个车轮的计算振动值与其基准振动值进行比较。当车轮的振动值与其基准振动值之差超过车轮振动阈值时,计算机判定该车轮存在不平衡。
福特在一份声明中表示:“提交专利申请是企业正常运营的一部分,因为这一过程可以保护新创意,并帮助我们构建强大的知识产权组合。专利申请中描述的想法不应被视为我们业务或产品计划的指示。无论专利申请中概述的内容如何,在开发和推广新产品和服务时,我们始终会将客户放在首位。”
*特别声明:本文为技术类文章,禁止转载或大篇幅摘录!违规转载,法律必究。
本文地址:https://auto.gasgoo.com/news/202512/10I70438674C409.shtml
 
联系邮箱:info@gasgoo.com
求职应聘:021-39197800-8035
简历投递:zhaopin@gasgoo.com
客服微信:gasgoo12 (豆豆)
新闻热线:021-39586122
商务合作:021-39586681
市场合作:021-39197800-8032
研究院项目咨询:021-39197921
