根据中汽协最新统计数据,今年9月,我国汽车产销分别完成327.6万辆和322.6万辆,环比分别增长16.4%和12.9%,同比分别增长17.1%和14.9%,这是我国汽车产销历史同期首次超过300万辆,且月度同比增速已连续5个月保持10%以上。...[详细]
10月13日,乘联分会发布的最新数据显示,9月全国乘用车市场零售量达到224.1万辆,同比增长6.3%,环比增长11%,1-9月累计零售量达到1700.5万辆,同比增长9.2%。...[详细]
九月的车市,竞争甚是火热,各大品牌纷纷交出了亮眼的成绩单,新势力阵营呈现多点开花的局面,零跑汽车以突破6万台的交付量刷新行业纪录,鸿蒙智行、小鹏、小米等品牌紧随其后。与此同时,蔚来与理想汽车虽面临不同挑战,但通过多品牌战略或新车型布局,仍保持了稳定的市场表现。...[详细]
2025年1-9月,中国动力电池产业延续高速增长态势,产量、销量、装车量均实现同比大幅提升。据中国汽车动力电池产业创新联盟(以下简称“电池联盟”)数据显示,1-9月我国动力和其他电池累计产量达1121.9GWh,累计同比增长51.4%。...[详细]
今年7月份,欧洲(包括欧盟、英国及欧洲自由贸易联盟)新车销量同比增长5.9%至1,085,356辆。...[详细]
10月9日,据工业和信息化部官网显示,其与财政部、税务总局等三部门近日联合公告2026-2027年减免车辆购置税新能源汽车产品技术要求,明确纯电动乘用车、插电式(含增程式)混合动力乘用车有关技术要求调整等情况。...[详细]
10月9日,中国商务部与海关总署正式发布联合公告,宣布为维护国家安全与利益、履行防扩散等国际义务,将自2025年11月8日起,对部分锂电池、关键正负极材料及其制造设备与技术实施出口管制。...[详细]
《行动方案》明确到2027年底,在全国范围内建成2800万个充电设施,提供超3亿千瓦的公共充电容量,满足超过8000万辆电动汽车充电需求,实现充电服务能力的翻倍增长。...[详细]
10月11日消息,据“上海商务”公众号消息,按照稳妥有序开展消费品以旧换新工作统一部署,根据上海市汽车以旧换新补贴政策实施情况,经有关部门研究决定,调整我市汽车以旧换新补贴活动规则。...[详细]
2025年前三季度,吉利控股集团交出了一份亮眼的成绩单:集团总销量达到295.3万辆,同比增长29%;其中新能源车型销量达159.1万辆,同比增长68%,新能源渗透率攀升至54%。...[详细]
2025 年 9 月中国车市 “金九” 战事收官,上汽集团以 44 万辆的单月销量、40.4% 的同比增幅及 21% 的环比增长,延续单月销量同比 “九连涨” 态势。前三季度累计终端零售 337.8 万辆的成绩,使其继续稳坐国内行业头把交椅。...[详细]
10月1日,小米汽车官方宣布,9月交付量超过4万台。 值得注意的是,小米汽车8月销量超过3万台,是连续第二个月交付量突破3万辆。足以可见,此次9月交付量创历史新高。...[详细]
今年9月份,特斯拉中国产电动汽车销量达90,812辆。...[详细]
香港交易所最新文件显示,赛力斯集团股份有限公司(以下简称“赛力斯”)已于10月13日正式通过港交所上市聆讯,联席保荐人为中国国际金融股份有限公司(中金公司)及中国银河国际。...[详细]
10月10日,比亚迪官方宣布,第1400万辆新能源汽车在巴西乘用车工厂正式下线,标志着比亚迪全球化迈入全新阶段。...[详细]
10月14日,京东宣布联合宁德时代、广汽共同推出一款“国民好车”。...[详细]
10月11日,据东风汽车微信公众号消息,东风汽车集团有限公司召开领导班子(扩大)会议。受中央组织部领导委托,中央组织部有关干部局负责同志宣布了党中央关于东风汽车集团有限公司总经理任职的决定:冯长军任东风汽车集团有限公司董事、总经理、党委副书记,免去其东风汽车集团有限公司总会计师职务。...[详细]
目前采埃孚正与富士康及其他意向方商谈,计划围绕Division E部门的特定产品开展合作。...[详细]
根据天眼查工商信息显示,近日,山东理想汽车电池有限公司成立,法定代表人为刘立国,注册资本3亿人民币,经营范围包括电池制造、电池销售、新兴能源技术研发、电动汽车充电基础设施运营等。...[详细]
2025年10月14日晨间,中国半导体行业协会发布声明,会员企业闻泰科技旗下荷兰分支机构安世半导体受当地政府干预一事引发产业界高度关注。...[详细]
10月10日消息,从常熟汽饰官方处获悉,其与荷兰织物触觉传感技术创新企业Brighter Signals B.V. 在近日达成战略合作,为汽车和机器人制造下一代触觉传感技术。...[详细]
近日,宁德时代旗下专注智能滑板底盘技术研发与产业化的子公司——宁德时代(上海)智能科技有限公司(简称“CATL时代智能”)完成首次对外融资,估值超过百亿元人民币,成为智能底盘领域首家独角兽企业。...[详细]
10月14日,中国证监会发布《关于 PonyAIInc.(小马智行股份有限公司)境外发行上市备案通知书》。据悉,小马智行拟发行不超过102,146,500股普通股,并在香港联合交易所上市。...[详细]
10月15日,商汤科技官方宣布,近日与寒武纪科技签署战略合作协议,聚焦人工智能软硬件协同优化与产业生态构建。...[详细]
据悉,三星电子今年第三季度的营业利润预计将达到10.1万亿韩元(约合71.1亿美元),同比增长10%。...[详细]
盖世汽车讯 目前常用的大多数电池都含有易燃液体电解质。电池的下一个发展方向是ASSLMB,它用不易燃的固体材料取代易燃液体,在电极之间传输电荷。虽然它们的安全性显著提高,但存在一个关键缺陷,阻碍了它们的可靠性和持久性。...[详细]
盖世汽车讯 10月13日,汽车座椅供应商安道拓(Adient)与汽车安全系统供应商奥托立夫(Autoliv)联合开发出创新的安全解决方案,显著提升了深度倾斜座椅(通常称为零重力)下的乘员保护。...[详细]
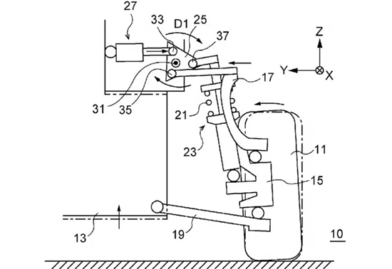
盖世汽车讯 据外媒报道,斯巴鲁(Subaru)获得一项自适应悬架专利,可实时调节行驶高度和车轮外倾角。传感器会调节每个转弯,将赛道控制与舒适性完美融合。...[详细]
盖世汽车讯 10月6日,车内感知人工智能和驾驶员监控系统(DMS)供应商Smart Eye AB宣布与索尼半导体解决方案公司(Sony Semiconductor Solutions Corporation,Sony)合作。...[详细]
盖世汽车讯 据外媒报道,西门子(Siemens)宣布推出其下一代电动汽车(EV)分布式充电系统——SICHARGE FLEX产品系列,具有模块化、可扩展性和多功能适应性,旨在灵活、可靠、经济,适用于各种应用场景。...[详细]
盖世汽车讯 10月2日,索尼半导体解决方案公司(Sony Semiconductor Solutions,SSS)宣布即将推出IMX775 CMOS RGB-IR图像传感器,该传感器拥有业界超小像素尺寸(2.1 µm)。...[详细]
盖世汽车讯 据外媒报道,由韩国大邱庆北科学技术院(DGIST)电气工程与计算机科学系和物理人工智能中心的Kyung-Joon Park教授领导研究团队开发出一种新的“物理人工智能(Physical AI)”技术。...[详细]
盖世汽车讯 10月7日,半导体解决方案开发商豪威集团(OMNIVISION)宣布推出其最新一代汽车图像传感器:采用TheiaCel™技术的800万像素(MP)CMOS 图像传感器OX08D20。...[详细]
关于盖世汽车资讯 | 联系电话:021-39586126 | 联系邮箱:info@gasgoo.com | 客服QQ:531068497
盖世旗下网站: 中文站 | 国际站 | 中文汽车资讯 | 英文汽车资讯 | 盖世汽车社区
盖世汽车 版权所有2011 |未经授权禁止复制或建立镜像,否则将追究法律责任。
增值电信业务经营许可证 沪B2-2007118 沪ICP备07023350号